RF - Bezpilotní prostředky
-
Skeptik
- Sponzor fóra
- Příspěvky: 10101
- Registrován: 07 úno 2017, 19:59
Re: RF - Bezpilotní prostředky
Urychlovací raketový motor to má pod trupem a odhazovací ... je to vidět na videích ze startu.
Tipoval bych to na klamné cíle ... už kvůli tomu perforování.
Ale "vařím z vody".
Tipoval bych to na klamné cíle ... už kvůli tomu perforování.
Ale "vařím z vody".
"Když bludem trpí jeden člověk, říká se tomu šílenství. Když bludem trpí hodně lidí, říká se tomu náboženství."
-----------------------------------------
„Chovej v úctě ty, kdo hledají pravdu, ale pozor na ty, co ji našli." Voltaire
-----------------------------------------
„Chovej v úctě ty, kdo hledají pravdu, ale pozor na ty, co ji našli." Voltaire
-
Alchymista
- Redakční rada
- Příspěvky: 54924
- Registrován: 01 úno 2017, 08:58
Re: RF - Bezpilotní prostředky
Ruský dron - klamný cieľ s luneburgovou šošovkou (https://en.wikipedia.org/wiki/Luneburg_lens) tlačenou na 3D tlačiarni (
)
a kusom alobalu v mikrotenovom sáčku
https://t.me/infomil_live/11189
Správna lunebugrova šošovka má mať "gradient dielektrickej konštanty" pozdĺž polomeru gule. To sa dá na 3D tlačiarni veľmi ľahko dosiahnuť zmenou hustoty vlákien tlačenej mreže, takže vlastne vzniká "kompozit" vzduch-plast s požadovanými vlastnosťami.
Chcelo by to ešte popracovať na presnom riešení vnútornej štruktúry mreže, aby boli v štruktúre minimalizované "kanály" nevyplnené dielektrikom, napríklad malým pootočením / posunom každej vrstvy gule v dvoch rovinách.
Luneburgova šošovka s "kanálmi" by sa totiž mohla dať odhaliť zmenou polarizácie dopadajúceho signálu, kedy pri jednej polarizácii bude RCS šošovky iné, ako pri inej polarizácii.
a kusom alobalu v mikrotenovom sáčku
https://t.me/infomil_live/11189
Takmer geniálne riešenie...Veľmi zaujímavé obrázky uverejňujú ukrajinské zdroje.
Zobrazujú isté ruské bezpilotné lietadlo, ktoré nesie ako užitočné zaťaženie Lunebergovu šošovku, v tomto prípade 3D vytlačenú guľu zabalenú do fólie.
Cieľom je skresliť radarovú signatúru dronu smerom nahor a imitovať väčšie ciele, čo sa zasa využíva na vyradenie iných ruských kamikadze UAV z ohrozenia a vyčerpanie protilietadlovej munície AFU.
Podľa ukrajinskej strany môže v poslednom čase počet takýchto klamných dronov predstavovať až polovicu všetkých vypustených prostriedkov.
Správna lunebugrova šošovka má mať "gradient dielektrickej konštanty" pozdĺž polomeru gule. To sa dá na 3D tlačiarni veľmi ľahko dosiahnuť zmenou hustoty vlákien tlačenej mreže, takže vlastne vzniká "kompozit" vzduch-plast s požadovanými vlastnosťami.
Chcelo by to ešte popracovať na presnom riešení vnútornej štruktúry mreže, aby boli v štruktúre minimalizované "kanály" nevyplnené dielektrikom, napríklad malým pootočením / posunom každej vrstvy gule v dvoch rovinách.
Luneburgova šošovka s "kanálmi" by sa totiž mohla dať odhaliť zmenou polarizácie dopadajúceho signálu, kedy pri jednej polarizácii bude RCS šošovky iné, ako pri inej polarizácii.
COVID-19 nie je choroba, COVID-19 je globálny test inteligencie jedincov, spoločenstiev, národov a štátov.
Dinosauri sa venovali výhradne problémom vlastného rastu.
Dinosauri sa venovali výhradne problémom vlastného rastu.
-
nine_mike
- Redaktor - závislák :-)
- Příspěvky: 5875
- Registrován: 07 úno 2017, 19:50
Re: RF - Bezpilotní prostředky
Dokážu bežné PVO radary ukropov meniť polarizáciu vlny?
героизм - это следствие проёба, кого-то выше
“Anyone who can make you believe absurdities, can make you commit atrocities.” Voltaire
“Anyone who can make you believe absurdities, can make you commit atrocities.” Voltaire
-
Alchymista
- Redakční rada
- Příspěvky: 54924
- Registrován: 01 úno 2017, 08:58
Re: RF - Bezpilotní prostředky
Staršie radary, zhruba od polovice 50. rokov to dokázali - je to totiž metoda eliminácie prírodných rušení, napríklad od dažďa. Či to vedia aj moderné s fázovanou mriežkou - netuším, ale nemal by to byť podľa mňa problém. "Elektronický" prvok pre otočenie polarizačnej roviny elektromagnetickej vlny je v princípe rovnaký ako elektronický prvok pre posunutie fázy elektromagnetickej vlny. Aspoň si myslím - ale nie je to moja parketa...
COVID-19 nie je choroba, COVID-19 je globálny test inteligencie jedincov, spoločenstiev, národov a štátov.
Dinosauri sa venovali výhradne problémom vlastného rastu.
Dinosauri sa venovali výhradne problémom vlastného rastu.
- petrp
- Šéfredaktor
- Příspěvky: 18945
- Registrován: 31 led 2017, 18:04
Re: RF - Bezpilotní prostředky
Polarizační rovina se dá otočit jen fyzickým otočením ozařovače. Proto měly některé radary antény otočené o 45° nebo ozařovače ovládané plynule. Bylo to především kvůli snížení intenzity pozemních odrazů. Později se začalo používat fázování signálu a co nemělo doplerův posun se mazalo, což ale taky nebylo úplně bezchybné...
Máš rozum? „Mám.“ Proč ho tedy neužíváš? Neboť když ten plní svou povinnost, co jiného ještě chceš? Marcus Aurelius "Hovory k sobě"
Propaganda z lidí idioty nedělá, propaganda je na idioty cílená. G. B. Shaw
Propaganda z lidí idioty nedělá, propaganda je na idioty cílená. G. B. Shaw
-
Alchymista
- Redakční rada
- Příspěvky: 54924
- Registrován: 01 úno 2017, 08:58
Re: RF - Bezpilotní prostředky
Rotačné zhadzovadlo pre drony na upravené granátometné náboje VOG-30 (350g náboj, 280g granát) (tiež VOG-17, GPD-30)
Tlačené na 3D tlačiarni. Výhoda - výrazne lepšie využitie nosnosti dronu pri nezmenenom ovládaní.
COVID-19 nie je choroba, COVID-19 je globálny test inteligencie jedincov, spoločenstiev, národov a štátov.
Dinosauri sa venovali výhradne problémom vlastného rastu.
Dinosauri sa venovali výhradne problémom vlastného rastu.
- skflanker_
- Sponzor fóra
- Příspěvky: 11372
- Registrován: 07 úno 2017, 20:22
Re: RF - Bezpilotní prostředky
Калашников: первый полет новейшего ударного беспилотника КУБ-10Э
Kalašnikov: prvý let najnovšieho bojového bezpilotnika KUB-10E
Komplex sa môže používať v ktorúkoľvek dennú dobu, v jednoduchých a zložitých meteorologických podmienkach, pri nárazoch vetra do 15 m/s, v rozsahu teplôt okolia (na povrchu zeme) od -30°С do +40°С.
Navádzanie: na zadaných súradniciach a údajoch z globálneho navigačného satelitného systému (GNSS / ГНСС)
Štart z katapultu. Jeho cestovná rýchlosť je 100 km/h. Rozsah letových výšok je 100 - 2500 metrov.
Koncern Kalašnikov v tomto roku 2024 zvýšil svoju výrobu takmer 10-násobne... Video https://vk.com/video-104764077_456287437 dĺžka 1:09 min.
Zdroj https://vk.com/wall-104764077_543168 z 30.12.2024 + oveľa viac info
Kalašnikov: prvý let najnovšieho bojového bezpilotnika KUB-10E
Komplex sa môže používať v ktorúkoľvek dennú dobu, v jednoduchých a zložitých meteorologických podmienkach, pri nárazoch vetra do 15 m/s, v rozsahu teplôt okolia (na povrchu zeme) od -30°С do +40°С.
Navádzanie: na zadaných súradniciach a údajoch z globálneho navigačného satelitného systému (GNSS / ГНСС)
Štart z katapultu. Jeho cestovná rýchlosť je 100 km/h. Rozsah letových výšok je 100 - 2500 metrov.
Koncern Kalašnikov v tomto roku 2024 zvýšil svoju výrobu takmer 10-násobne... Video https://vk.com/video-104764077_456287437 dĺžka 1:09 min.
Zdroj https://vk.com/wall-104764077_543168 z 30.12.2024 + oveľa viac info
-
Alchymista
- Redakční rada
- Příspěvky: 54924
- Registrován: 01 úno 2017, 08:58
Re: RF - Bezpilotní prostředky
údajne z ruského patentového spisu - doplnkový modul kĺzania a korekcie pre raketovú strelu
(proporcie a veľkosť zhruba raketa pre 122mm GRAD) Patent samotný som zatiaľ nenašiel.
Vychádzajúc z toho, že bežný Grad dostrelí cca 20km a maximálna rýchlosť rakety je cca 650-700m/s, tak pri maximálnej rýchlosti upravenej rakety cca 400-500m/s a otvorení krídla na vrchole optimálneho oblúka by týmto mohli dosiahnuť na diaľku 50-60km minimálne bez ďalšieho pohonu, alebo i cez 100km s doplnkovým pohonom.
(proporcie a veľkosť zhruba raketa pre 122mm GRAD) Patent samotný som zatiaľ nenašiel.
Vychádzajúc z toho, že bežný Grad dostrelí cca 20km a maximálna rýchlosť rakety je cca 650-700m/s, tak pri maximálnej rýchlosti upravenej rakety cca 400-500m/s a otvorení krídla na vrchole optimálneho oblúka by týmto mohli dosiahnuť na diaľku 50-60km minimálne bez ďalšieho pohonu, alebo i cez 100km s doplnkovým pohonom.
COVID-19 nie je choroba, COVID-19 je globálny test inteligencie jedincov, spoločenstiev, národov a štátov.
Dinosauri sa venovali výhradne problémom vlastného rastu.
Dinosauri sa venovali výhradne problémom vlastného rastu.
- mzprx
- Výkonný redaktor
- Příspěvky: 930
- Registrován: 31 srp 2019, 15:02
Re: RF - Bezpilotní prostředky
Vzhladom k rozmerom, muselo by to byt vystrelene z niecoho vecsieho, napr. z tornada. Alebo podstatne mensia raketa.
Viac hláv - viac kapusty.
-
Alchymista
- Redakční rada
- Příspěvky: 54924
- Registrován: 01 úno 2017, 08:58
Re: RF - Bezpilotní prostředky
Vzhľadom na pevné stabilizátory skôr zo samostatnej rampy...
COVID-19 nie je choroba, COVID-19 je globálny test inteligencie jedincov, spoločenstiev, národov a štátov.
Dinosauri sa venovali výhradne problémom vlastného rastu.
Dinosauri sa venovali výhradne problémom vlastného rastu.
-
Alchymista
- Redakční rada
- Příspěvky: 54924
- Registrován: 01 úno 2017, 08:58
Re: RF - Bezpilotní prostředky
Ukrajinci našli ruský prieskumný dron s "fotopascou" a mobilným internetom pre monitorovanie pohybu VSU na prifrontových komunikáciách.
COVID-19 nie je choroba, COVID-19 je globálny test inteligencie jedincov, spoločenstiev, národov a štátov.
Dinosauri sa venovali výhradne problémom vlastného rastu.
Dinosauri sa venovali výhradne problémom vlastného rastu.
-
Alchymista
- Redakční rada
- Příspěvky: 54924
- Registrován: 01 úno 2017, 08:58
Re: RF - Bezpilotní prostředky
Kalašnikov "Kub-2"
hmotnosť ~ 10kg, bojový náklad ~3kg
rozpätie 1.21 meter, dĺžka 0.95 meter, výška 0.165 meter
hmotnosť ~ 10kg, bojový náklad ~3kg
rozpätie 1.21 meter, dĺžka 0.95 meter, výška 0.165 meter
COVID-19 nie je choroba, COVID-19 je globálny test inteligencie jedincov, spoločenstiev, národov a štátov.
Dinosauri sa venovali výhradne problémom vlastného rastu.
Dinosauri sa venovali výhradne problémom vlastného rastu.
-
kenavf
- Sponzor fóra
- Příspěvky: 12609
- Registrován: 07 úno 2017, 19:59
Re: RF - Bezpilotní prostředky
▲Tak ma napadlo že niektoré tie bezpilotniky aby mali lepšiu kĺzavosť/plachtenie a teda dolet by potrebovali väčšie rozpätie krídla, ale to zase zhorší/predĺži krídla(problém so skladovatelnosťou v dlhodobých uloženkách a tuhosťou krídla).
Ak by som ich spravil ako dvojplošník, nemalo by to prínos?
Aký výškový odstup nad sebou, toho druhého krídla by musel byť aby sa navzájom neovplyvňovali? Alebo by to druhé mohlo byť vyššie a posunuté dozadu.
Ak by som ich spravil ako dvojplošník, nemalo by to prínos?
Aký výškový odstup nad sebou, toho druhého krídla by musel byť aby sa navzájom neovplyvňovali? Alebo by to druhé mohlo byť vyššie a posunuté dozadu.
"Mravní bída je příčina, hospodářský úpadek je následek".-T.Baťa.
"Jediné čo potrebujú nečisté síly k svojmu víťazstvu je to, aby slušní ľudia neurobili nič." -Edmund Burke.
"Jediné čo potrebujú nečisté síly k svojmu víťazstvu je to, aby slušní ľudia neurobili nič." -Edmund Burke.
-
Skeptik
- Sponzor fóra
- Příspěvky: 10101
- Registrován: 07 úno 2017, 19:59
Re: RF - Bezpilotní prostředky
Křídla dvouplošníku se ovlivňují vždy.
Navíc by výrazně vzrostl odpor a tim se snížila rychlost i dolet.
Určitou možností jsou křídla do X, co některé drony mají, ale i tam je odpor vyšší než u jednoplošníku.
Dtto platí o "zbytečném" zvětšení rozpětí (štíhlosti) křídla - snížení rychlosti a obratnosti.
Dron je po celou dobu letu poháněn = klouzavost nehraje takovou roli.
Navíc by výrazně vzrostl odpor a tim se snížila rychlost i dolet.
Určitou možností jsou křídla do X, co některé drony mají, ale i tam je odpor vyšší než u jednoplošníku.
Dtto platí o "zbytečném" zvětšení rozpětí (štíhlosti) křídla - snížení rychlosti a obratnosti.
Dron je po celou dobu letu poháněn = klouzavost nehraje takovou roli.
"Když bludem trpí jeden člověk, říká se tomu šílenství. Když bludem trpí hodně lidí, říká se tomu náboženství."
-----------------------------------------
„Chovej v úctě ty, kdo hledají pravdu, ale pozor na ty, co ji našli." Voltaire
-----------------------------------------
„Chovej v úctě ty, kdo hledají pravdu, ale pozor na ty, co ji našli." Voltaire
-
Alchymista
- Redakční rada
- Příspěvky: 54924
- Registrován: 01 úno 2017, 08:58
Re: RF - Bezpilotní prostředky
Skôr by bolo zaujímavé zvýšenie preletovej rýchlosti aspoň na 350-400km/h... Lenže to zrejme prináša problémy so stabilizáciou obrazu kamier, ich rozlišovacou schopnosťou a schopnosťou obsluhy detekovať ciele.
COVID-19 nie je choroba, COVID-19 je globálny test inteligencie jedincov, spoločenstiev, národov a štátov.
Dinosauri sa venovali výhradne problémom vlastného rastu.
Dinosauri sa venovali výhradne problémom vlastného rastu.
-
kenavf
- Sponzor fóra
- Příspěvky: 12609
- Registrován: 07 úno 2017, 19:59
Re: RF - Bezpilotní prostředky
Pri preletovej rýchlosti nemusíš tak riešiť rozlíšenie kamery ani stabilizáciu kamery. Pri dopade a mierení to už je samozrejme o inom.
"Mravní bída je příčina, hospodářský úpadek je následek".-T.Baťa.
"Jediné čo potrebujú nečisté síly k svojmu víťazstvu je to, aby slušní ľudia neurobili nič." -Edmund Burke.
"Jediné čo potrebujú nečisté síly k svojmu víťazstvu je to, aby slušní ľudia neurobili nič." -Edmund Burke.
-
Alchymista
- Redakční rada
- Příspěvky: 54924
- Registrován: 01 úno 2017, 08:58
Re: RF - Bezpilotní prostředky
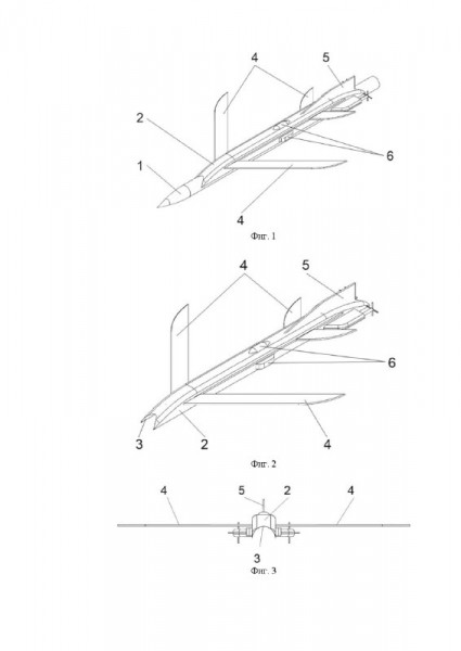
Detaily konštrukcie dron-klamného cieľa "Gerbera"
Cieľom je čo najnižšia cena - takže výlisky z "penového polystyrénu"
Cieľom je čo najnižšia cena - takže výlisky z "penového polystyrénu"
COVID-19 nie je choroba, COVID-19 je globálny test inteligencie jedincov, spoločenstiev, národov a štátov.
Dinosauri sa venovali výhradne problémom vlastného rastu.
Dinosauri sa venovali výhradne problémom vlastného rastu.
-
Skeptik
- Sponzor fóra
- Příspěvky: 10101
- Registrován: 07 úno 2017, 19:59
Re: RF - Bezpilotní prostředky
A nebo, pro jistotu, dvě
Vlastně asi ne, když ty střely dostáváš zdarma
"Když bludem trpí jeden člověk, říká se tomu šílenství. Když bludem trpí hodně lidí, říká se tomu náboženství."
-----------------------------------------
„Chovej v úctě ty, kdo hledají pravdu, ale pozor na ty, co ji našli." Voltaire
-----------------------------------------
„Chovej v úctě ty, kdo hledají pravdu, ale pozor na ty, co ji našli." Voltaire
- Kolja
- Senior redaktor
- Příspěvky: 3604
- Registrován: 07 úno 2017, 17:43
Re: RF - Bezpilotní prostředky
Nikdo ti nic nedá zdarma.
-
homer
- Sponzor fóra
- Příspěvky: 11614
- Registrován: 07 úno 2017, 21:47
Re: RF - Bezpilotní prostředky
Ukrajina dala v dronech přednost progresivnější technologii. A nevyšlo to
Na ukrajinském bojišti proti sobě soupeří dvě technologie na zvýšení odolnosti dronů proti rušení. Prozatím vítězí ta starší z nich. „Umělá inteligence“ naopak prohrává.
Na ukrajinském bojišti proti sobě soupeří dvě technologie na zvýšení odolnosti dronů proti rušení. Prozatím vítězí ta starší z nich. „Umělá inteligence“ naopak prohrává.
https://www.seznamzpravy.cz/clanek/zahr ... -to-268022Z technického hlediska totiž dnes existují dvě možnosti, jak dron učinit prakticky dokonale odolným proti rušení.
Za prvé může být vybaven schopností „strojového vidění“. Obvykle to probíhá tak, že operátor cíl vybere, počítač na palubě dronu si ho „zapamatuje“, a pokud ztratí spojení s pilotem, doletí k němu sám.
Druhou možností je použít „nerušitelné spojení“: ovládat stroj po „drátě“, tedy dnes po optickém vlákně. Takové spojení nelze přerušit jinak než přerušením samotného kabelu.
Každá metoda má své výhody i nevýhody. Strojové vidění je technologicky sofistikované řešení, které vyžaduje vysoce kvalitní komponenty, dobře „vytrénovaný“ software a měsíce zkoušek.
Oproti tomu drony s optickými vlákny jsou technologicky méně složité, ale jejich výroba je dražší, mají kratší dolet, omezenou manévrovatelnost. Protože nesou kabel, bývá nesená nálož menší a lehčí.
„Strojové vidění se nevyvíjí tak rychle, jak jsme očekávali,“ řekl Oleksij Babenko, ředitel ukrajinského výrobce dronů Vyrij Drone, deníku Ekonomična Pravda. „Někteří výrobci poslali drony na frontu s poměrně slabými naváděcími algoritmy. Dalším problémem je, že ruské vybavení EW (vybavení pro elektronický boj, pozn. red.) je rozmístěno podél trasy, ne u cíle, takže operátor riskuje ztrátu dronu, aniž by cíl vůbec spatřil.“
Řešení se hledají. Vývojáři teď podle něj usilovně pracují na zlepšení softwaru, výrobci chystají drony s lepší kamerou, které dokážou zachytit cíl spolehlivě na vzdálenost kilometru či více. Babenko tak věří, že ještě před koncem zimy přijde druhá velká vlna zavádění strojového vidění pro bojové drony.